Здравствуйте, гость ( Вход | Регистрация )
7.2.2008, 10:38
Сообщение
#1
|
|
![]() Житель ![]() ![]() ![]() Группа: Пользователи Сообщений: 207 Регистрация: 23.1.2008 Из: Днепропетровск Авто:Nexia ; Chevrolet Evanda Пол: |
Сегодня с утра сел в машинку, провернул ключ зажигания и поня что у меня сдох аккумулятор.У машинки вторая зима.Это нормально или что то посадило его за ночь?
|
|
|
|
|
|
![]() |
14.4.2010, 18:58
Сообщение
#2
|
||
![]() Любитель ![]() ![]() ![]() ![]() Группа: Пользователи Сообщений: 399 Регистрация: 16.1.2010 Из: Бориспіль Пол: |
Накопав схему автоматичного десульфататора, бо за попередньою треба постійно наглядать.
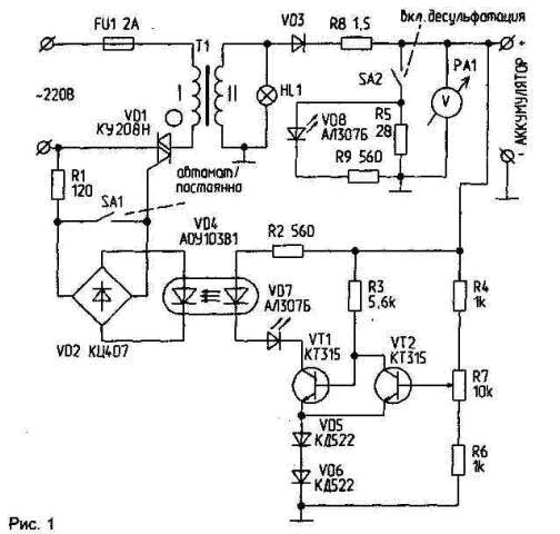
Зарядно-десульфатирующий автомат для автомобильных аккумуляторов Давно уже известен тот факт, что заряд электрохимических источников питания асимметричным током, при соотношении Iзар : Iразр = 10:1, в частности кислотных аккумуляторов, приводит к устранению сульфатации пластин в батарее, т.е. к восстановлению их емкости, что, в свою очередь, продлевает срок службы батареи. Не всегда есть возможность находиться возле зарядного устройства и все время контролировать процесс зарядки, поэтому зачастую либо систематически недозаряжают батареи, либо перезаряжают их, что, конечно же, не продлевает срок их службы. Из химии известно, что разность потенциалов между отрицательной и положительной пластинами в аккумуляторной батарее составляет 2,1 В, что при 6 банках дает 2,1 х 6 = 12,6 В. При зарядном токе, равном 0,1 от емкости батареи, в конце заряда напряжение повышается до 2,4 В на одну банку или 2,4 х 6 = 14,4 В. Повышение зарядного тока ведет к повышению напряжения на аккумуляторе и повышенному разогреву и кипению электролита. Заряд же током ниже 0,1 от емкости не позволяет доводить напряжение до 14,4 В, однако длительный (до трех недель) заряд малым током способствует растворению кристаллов сульфата свинца. Особенно опасны дендриты сульфата свинца, "проросшие" в сепараторах. Они и вызывают быстрый саморазряд батареи (с вечера зарядил аккумулятор, а утром не смог запустить двигатель). Вымыть же дендриты из сепараторов можно только растворением их в азотной кислоте, что практически нереально. Путем длительных наблюдений и экспериментов была создана электрическая схема, которая, по мнению автора, позволяет довериться автоматике. Опытная эксплуатация в течение 10 лет показала эффективную работу устройства. Принцип работы заключается в следующем: 1. Заряд производится на положительной полуволне вторичного напряжения. 2. На отрицательной полуволне происходит частичный разряд батареи за счет протекания тока через нагрузочный резистор. 3. Автоматическое включение при падении напряжения за счет саморазряда до 12,5 В и автоматическое отключение от сети 220 В при достижении напряжения на батарее 14.4 В. Отключение — бесконтактное, посредством симистора и схемы контроля напряжения на батарее. Важное достоинство метода заключается в том, что пока не подключена батарея (автоматический режим), блок не может включиться, что исключает короткое замыкание при замыкании проводов, подводящих зарядный ток к аккумуляторной батарее. При сильно разряженной батарее включение блока возможно посредством переключателя "АВТОМАТ-ПОСТОЯННО". Еще одно очень важное достоинство — отсутствие сильного "кипения", что в совокупности с автоматическими отключением и включением позволяет оставлять включенное устройство без присмотра на длительное время. Автор про-экспериментировал с двухнедельным режимом постоянного включения в режиме "АВТОМАТ". В целях пожарной безопасности необходимо, чтобы зарядное устройство было в металлическом корпусе, сечение подводящих проводников к батарее — не менее 2,5 мм2. Обязателен также надежный контакт на клеммах батареи. Напряжение сети 220 В подается через предохранитель FU1 и симис-тор VD1 на первичную обмотку силового трансформатора. Со вторичной обмотки переменное напряжение U2=21 В выпрямляется диодом VD3 и через балластный резистор R8 сопротивлением 1,5 Ом поступает на клемму "+" батареи, к которой подключены вольтметр РА1 на 15 В, тумблер SA2 "ВКЛ.ДЕСУЛЬФАТА-ЦИЯ" и схема контроля и управления, представляющая собой триггер Шмитта с гистерезистором около 1,8 В, определяемым падением напряжения на диодах VD5, VD6 и переходе база-эмиттер транзистора VT2. Транзистор VT1 при напряжении на аккумуляторе 12,6 В включается, и через оптрон VD4 включает симистор VD1, что приводит к включению трансформатора Т1 и подаче напряжения на заряжаемый аккумулятор. Подключение тумблером SA2 резистора R5 обеспечивает асимметричность формы зарядного тока. Свето-диоды VD8 и VD7 индицируют включение блока в режимы "ДЕСУЛЬФА-ТАЦИЯ" и "ВКЛ." соответственно. Резистором R7 устанавливается момент отключения блока при напряжении на вольтметре 15 В (=0,5 В падает на подводящих проводах). Мостик VD2 обеспечивает включение симис-тора на обеих полуволнах сетевого напряжения и нормальную работу трансформатора. Тумблер SA1 служит для включения режима "ПОСТОЯННО". Детали. Силовой трансформатор — Р=160 Вт, Uii=21 В, провод — ПЭВ-2-2,0. R8 — проволочный (нихром) диаметром 0,6 мм. R5 — ПЭВР на 10...15 Вт. Диод VD3 — любой из Д242...Д248 с любым буквенным индексом на радиаторе площадью S=200 см2. Остальные резисторы типа — МЛТ, СП; симистор — КУ208Н, без радиатора. S1 — любой, например МТ1. S2 — ТВ1-1. HL1 —любая лампа на 12 В. РА1 — измерительная головка на 15 В. А.СОРОКИН -------------------- |
|
|
||
|
|
||
Dok Сдох аккумулятор 7.2.2008, 10:38
Masal Цитата(Dok @ 7.2.2008, 10:38) Сегодня с у... 7.2.2008, 10:55
sanec для такого срока он быстро сдох.значить что-то на ... 7.2.2008, 10:58
Dok В багажнике наврядли,я там менял свет на неон.А во... 7.2.2008, 10:59
sanec Цитата(Dok @ 7.2.2008, 10:59) В багажнике... 7.2.2008, 11:00
Dok Цитата(sanec @ 7.2.2008, 11:00) при выклю... 7.2.2008, 11:11
Dream а уровень электролита в норме? 7.2.2008, 11:12
Dok Цитата(Dream @ 7.2.2008, 11:12) а уровень... 7.2.2008, 11:13
Dream Цитата(Dok @ 7.2.2008, 11:13) Я не смотре... 7.2.2008, 11:14
Dok Цитата(Dream @ 7.2.2008, 11:14) открути п... 7.2.2008, 11:19
WILL Цитата(Dok @ 7.2.2008, 11:19) АГА. А как ... 7.2.2008, 11:21
Masal Я же тебе говорю на бумере при выключеном зажигани... 7.2.2008, 11:10
Dok Цитата(Masal @ 7.2.2008, 11:10) Я же тебе... 7.2.2008, 11:12
Masal По идее там с боку метки должны быть, если не найд... 7.2.2008, 11:21
niki Во первых родные АЛКОРЫ на ксю неразбрные , и не в... 7.2.2008, 11:59
Dok Цитата(niki @ 7.2.2008, 11:59) Во первых ... 7.2.2008, 14:16
niki Да , менял , хотел поставить курского завода , на ... 7.2.2008, 23:29
Zhest' Поставил авто в гараж, при этом посмотрел на лампо... 23.3.2008, 7:51
Michael Все таки найди что тебе его садит,потому что и нов... 23.3.2008, 8:44
Zhest' В багажнике проверял, все в норме.... Морду с магн... 23.3.2008, 19:57
Dema аккамуляторы сейчас плохие...
были теже проблемы у... 24.3.2008, 20:44
Zhest' Цитата(Dema @ 24.3.2008, 20:44) аккамулят... 26.3.2008, 8:00
MFGR Аналогичная ситуация: СДОХ АККУМУЛЯТОР!
Замкну... 11.8.2008, 8:14
Zhest' На моем авто, аккум ожил. Видимо, не любит он холо... 11.8.2008, 9:36
vlad Цитата(Zhest' @ 11.8.2008, 11:36) На ... 12.8.2008, 11:39
niki Кста , вот только в субботу провел штатное ТО для ... 11.8.2008, 17:16
ТоЯматоКанава кто ответит: на Ксю АКБ обслуживаемый?
Если да, то... 12.8.2008, 12:15
vlad Цитата(ТоЯматоКанава @ 12.8.2008, 15:15) ... 12.8.2008, 13:09

Zhest' Цитата(vlad @ 12.8.2008, 13:09) На необсл... 14.8.2008, 0:05

Vik Цитата(vlad @ 12.8.2008, 14:09) На необсл... 23.4.2009, 14:50

Anatoliy Цитата(Vik @ 23.4.2009, 15:50) Машина езд... 24.4.2009, 12:06
Pawa Цитата(ТоЯматоКанава @ 12.8.2008, 13:15) ... 27.8.2008, 9:36
vlad Да, на необслуживаемом окошко есть, зеленым светит... 14.8.2008, 12:20
NEXT Такая же фигня. Акома держит заряд максимум 24-36 ... 26.8.2008, 17:56
люка Цитата(NEXT @ 26.8.2008, 17:56) Такая же ... 3.4.2009, 8:35
Anatoliy Цитата(люка @ 3.4.2009, 9:35) ...если при... 3.4.2009, 11:41
Dimit Цитата(люка @ 3.4.2009, 9:35) За неделю п... 3.4.2009, 12:11
Anatoliy Цитата(Dimit @ 3.4.2009, 13:11) Это же бо... 4.4.2009, 18:21
люка Цитата(Dimit @ 3.4.2009, 12:11) Это же бо... 8.4.2009, 8:22
Anatoliy Цитата(люка @ 8.4.2009, 9:22) Концевик ра... 9.4.2009, 12:26
niki Господа - наличие "окошка" - это не пока... 27.8.2008, 13:49
excited У меня тоже сдох ( Заряжал ... и пох .. доливал ди... 19.11.2008, 13:55
бобр Цитата(excited @ 19.11.2008, 13:55) У мен... 19.11.2008, 17:25
Spliff У меня тож стал слабо протягивать,пришлось менять.... 19.11.2008, 17:05
niki Гена на ксю - срзу Ф топпку , и менять его надо на... 28.4.2009, 12:47
walv Вот и моему Delkor'у пришел конец.
Стояла маш... 6.2.2010, 22:27
Anatoliy Цитата(walv @ 6.2.2010, 22:27) Вот и моем... 24.3.2010, 11:03
Anatoliy Цитата(Anatoliy @ 24.3.2010, 12:03) Мой D... 30.3.2010, 8:13
Ander_1 Я уважно прочитав попередні пости, і хочу запропон... 21.3.2010, 11:04
Anatoliy Цитата(Ander_1 @ 21.3.2010, 11:04) Але в ... 24.3.2010, 11:14
FiRST888 Цитата(Dok @ 7.2.2008, 11:38) Сегодня с у... 21.3.2010, 11:25
Ander_1 Бачу двое скачали попередню схему тому наведу повн... 23.3.2010, 21:43
Ander_1 Измерительный прибор РА1 подойдет со шкалой 0...5 ... 23.3.2010, 22:06
ars_rust По любому что-то садит я на Нексии с родным аккуму... 24.3.2010, 12:13
Anatoliy Ander_1 хорошая схема, она разработана еще в конце... 24.3.2010, 15:26
niki У меня на ксюндре - ничего не садило!!... 24.3.2010, 22:48
Jeka У меня акум сдох через полторп года. Грешил на муз... 25.3.2010, 11:50
Zhest' Цитата(Jeka @ 25.3.2010, 11:50) У меня ак... 25.3.2010, 19:41
Anatoliy Вот что пишут другие. 26.3.2010, 22:52
Ander_1 Цитата(Anatoliy @ 24.3.2010, 12:14) Это м... 28.3.2010, 13:29
Anatoliy Интересно узнать мнение товарищей об этом. 7.4.2010, 21:34
pashila1 Цитата(Anatoliy @ 7.4.2010, 22:34) Интере... 7.4.2010, 22:02
Anatoliy Чесно говоря, я поверил, вот только цена кусается,... 8.4.2010, 10:32
KIO Я себе купил http://avtoakkumulyator.uaprom.net/p3... 8.4.2010, 21:02
Zhest' Цитата(KIO @ 8.4.2010, 20:02) Я себе купи... 8.4.2010, 21:56
бобр У меня обыкновенная Виста 4-ре зимы пережила и 180... 9.4.2010, 9:41
Vanos Next Привет всем! Машиной пользуюсь только на выход... 22.4.2010, 23:03
Anatoliy Цитата(Vanos Next @ 23.4.2010, 0:03) Прив... 23.4.2010, 0:46
Vanos Next Цитата(Anatoliy @ 23.4.2010, 11:46) Спаси... 23.4.2010, 17:55
Ander_1 Вданой ситуации лучше поставить кнопку масы, так д... 24.4.2010, 17:40
Zhest' У меня было такое, что только на выходных катался ... 25.4.2010, 21:23
WILL на выходных сдох родной аккум.
Предыстория- после ... 7.9.2010, 15:12
ромадим Цитата(WILL @ 7.9.2010, 16:12) посмотрю ч... 7.9.2010, 16:09
WILL так я и написал- ЕСЛИ оживет- будет запасным. 7.9.2010, 16:27
Ander_1 Реанематор для аккума (описанный выше).
Год назад... 19.8.2012, 18:22
Ander_1 Измерял напряжение на АБК - 12,83 вольт.
Включил п... 21.8.2012, 17:07
traffic В принципе криминала не вижу, но аккумулятор разря... 21.8.2012, 20:06
Ander_1 Вопрос в том, что практически без нагрузки (10 ват... 22.8.2012, 20:39
traffic Если при снятии нагрузки напряжение восстанавливае... 22.8.2012, 20:45
Ander_1 Восстанавливается, но медленее, чем разряжалось.
... 22.8.2012, 21:07![]() ![]() |
| Текстовая версия | Сейчас: 30.11.2025, 0:46 |
| Разработка сайта: JetBrain, 2008 |